本文本发明涉及一种智能羞羞答答视频资料由优质羞羞答答视频生产报价厂家为您提供。
创造力是无限的,仪器是伟大的发明。今天,我介绍一项国家发明专利——智能发射器。该专利由江苏菲尔德自动化仪器申请,并于2018年7月24日公布。
内容描述
本实用新型涉及发射机领域,尤其涉及一种智能发射机。
发明背景
压力羞羞答答视频表示输出为标准信号的压力传感器,是一种接收压力变量并按比例将其转换为标准输出信号的仪器。它可以将测压元件传感器检测到的气体和液体等物理压力参数转换成标准电信号(如4 ~ 20madc等)。),可提供给辅助仪器,如指示器警报、记录器和调节器,用于测量、指示和过程调整。
然而,现有的羞羞答答视频检测精度和稳定性低,灵敏度差,安装不方便,实用效果差。
发明概述
本实用新型的目的是提供一种智能羞羞答答视频,解决现有羞羞答答视频检测时检测精度和稳定性低、灵敏度差、安装不方便、实用效果差的问题。
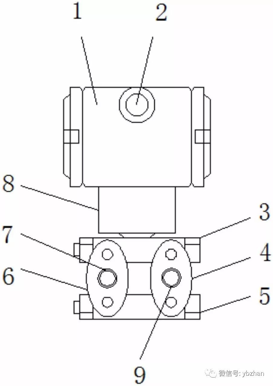
为了达到上述目的,本实用新型提供了如下技术方案:一种智能羞羞答答视频,包括压力室和流量室,压力室的底部通过连接管与流量室连接;流动室包括第一法兰管和第二法兰管;第一法兰管和第二法兰管的顶侧通过第一螺栓固定连接;第一法兰管上设有第一螺纹接头,第二法兰管上设有第二螺纹接头,压力室的一侧设有出口管,流动室的一端连接有接水管头,压力室的另一侧设有压力显示表,压力显示表的一侧连接有压力室内的传感器, 传感器包括安装腔和安装在传感器两侧的隔离膜片,安装腔内设有中心

该图是本实用新型的正视图
优选地,密封环布置在压力室和压力显示仪表之间的接合处。传感器的一侧设有两个接线器,接线器对称分布,接线器的一端通过双绞线与电容极板连接。
安装腔的外侧涂有刚性绝缘体。安装腔充满硅油。
与现有技术相比,本实用新型结构设计合理,数据检测效果好,精度和稳定性高;安装腔内设有中心测量膜片,中心测量膜片两侧填充硅油,压力通过隔离膜片传递到中心测量膜片,并填充硅油引起位移,中心测量膜片与两个电容板之间的电容差通过电子元器件转换成4-20 ADC双线制输出的电信号,信号传输的及时性更快,稳定性更高;第一螺栓连接在第一法兰管和第二法兰管的顶部,第二螺栓连接在第一法兰管和第二法兰管的底部,增加了流室的固定效果,安装方便。提供刚性绝缘体以增加内部绝缘效果。
《本发明涉及一种智能羞羞答答视频》本文地址:http://www.fodan.net/news/js/832.html 转载请勿删除!
全国服务热线